Задания ЕГЭ | Биология
Тема: Нервная система
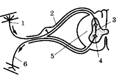
Выберите три верно обозначенные подписи к рисунку, на котором изображено строение рефлекторной дуги человека. Запишите цифры, под которыми они указаны.

1) вставочный нейрон
2) аксон чувствительного нейрона
3) синапс
4) тело двигательного нейрона
5) серое вещество
6) аксон двигательного нейрона
Тема: Нервная система
Выберите три верно обозначенные подписи к рисунку, на котором изображено строение головного мозга человека. Запишите цифры, под которыми они указаны.

1) большое полушарие
2) мозолистое тело
3) мост
4) гипоталамус
5) средний мозг
6) промежуточный мозг
Тема: Нервная система
Выберите три верно обозначенные подписи к рисунку, на котором изображено строение головного мозга человека. Запишите цифры, под которыми они указаны.

1) продолговатый мозг
2) таламус
3) гипоталамус
4) гипофиз
5) промежуточный мозг
6) мозжечок
Тема: Сердечно-сосудистая система
Выберите три верных ответа из шести и запишите цифры, под которыми они указаны. Что характерно для вен, в отличие от артерий?
1) относительно тонкий мышечный слой
2) наличие клапанов
3) высокое кровяное давление
4) быстрый ток крови
5) разносят кровь к органам и тканям
6) транспорт крови к сердцу
Тема: Опорно-двигательный аппарат
Выберите три верно обозначенные подписи к рисунку, на котором изображён скелет человека. Запишите цифры, под которыми они указаны.

1) локтевая кость
2) лучевая кость
3) плечевая кость
4) крестец
5) бедренная кость
6) стопа
Тема: Ткани человека
Выберите три верных ответа из шести и запишите цифры, под которыми они указаны. Какие признаки характерны для ткани, представленной на рисунке?

1) участвует в образовании стенок кровеносных сосудов
2) обеспечивает перемещение тела в пространстве
3) состоит из веретеновидных клеток
4) образована одноядерными клетками
5) обладает возбудимостью и сократимостью
6) управляется соматическим отделом нервной системы
Тема: Дыхательная система
Установите последовательность этапов в процессе дыхания в организме человека. Запишите соответствующую последовательность цифр.
1) транспорт воздуха через носовую полость
2) поступление кислорода в цитоплазму нейрона
3) взаимодействие кислорода с гемоглобином
4) транспорт кислорода из альвеолы в кровь
5) участие кислорода в окислительном фосфорилировании
6) поступление воздуха в правый главный бронх
Тема: Нервная система
Установите последовательность расположения нервных центров в организме человека в порядке их приближения к коре больших полушарий. Запишите соответствующую последовательность цифр.
1) ядра симпатической нервной системы, регулирующие работу сердца
2) центр ориентировочных рефлексов на зрительный стимул
3) слюноотделительный центр
4) ядра парасимпатической нервной системы, регулирующие мочевыделение
5) центр эндокринной регуляции
6) речевой центр Брока
Тема: Нервная система
Установите последовательность в рефлекторной дуге мигательного рефлекса в организме человека. Запишите соответствующую последовательность цифр
1) двигательная часть лицевого нерва
2) чувствительный нерв нервного узла
3) нерв среднего мозга
4) рецепторы внутреннего угла глаза
5) круговая мышца глаза
6) воздействие яркого света
Тема: Дыхательная система
Установите последовательность вдыхаемого кислорода. Запишите соответствующую последовательность цифр.
1) бронх
2) перенос в нейрон
3) попадание в носовую полость
4) альвеола
5) окислительное фосфорилирование
6) соединение в крови с гемоглобином
Тема: Пищеварительная система
Установите последовательность процессов углеводного обмена в организме человека. Запишите соответствующую последовательность цифр.
1) всасывание глюкозы в кровь
2) поступление глюкозы в клетки головного мозга
3) расщепление пищевого крахмала до мальтозы
4) расщепление мальтозы до глюкозы
5) окисление пировиноградной кислоты в митохондриях
6) окисление глюкозы до пировиноградной кислоты
Тема: Сердечно-сосудистая система
Установите последовательность структур в организме человека, по которым транспортируется углекислый газ из трапециевидной мышцы в окружающую среду. Запишите соответствующую последовательность цифр.
1) капилляры трапециевидной мышцы
2) гортань
3) капилляры легких
4) правый желудочек сердца
5) бронхи
6) легочные артерии
Тема: Нервная система
Установите последовательность процессов, происходящих при реализации коленного рефлекса. Запишите соответствующую последовательность цифр.
1) растяжение сухожилия четырехглавой мышцы бедра от удара молоточком
2) возбуждение мышечных рецепторов
3) сокращение четырехглавой мышцы бедра
4) передача нервного импульса по чувствительному нейрону
5) поступление импульса в серое вещество спинного мозга
6) проведение импульса по аксону мотонейрона
Тема: Дыхательная система
Установите последовательность процессов нейрогуморальной регуляции дыхания в организме человека, начиная с непродолжительной задержки дыхания. Запишите соответствующую последовательность цифр.
1) повышение концентрации углекислого газа в крови
2) снижение концентрации углекислого газа в крови
3) взаимодействие углекислого газа с хеморецепторами стенки сонной артерии
4) передача нервного импульса к диафрагме
5) усиление вентиляции легких
6) возбуждение центра вдоха в продолговатом мозге
Тема: Иммунитет
Установите последовательность процессов иммунного ответа в организме человека. Запишите соответствующую последовательность цифр.
1) контакт бактерии с мембраной фагоцита
2) переваривание бактерии
3) попадание бактерии в организм
4) слияние лизосом фагоцита с фагосомой
5) всасывание фагоцитом продуктов расщепления бактерии
6) фагоцитоз
Тема: Сердечно-сосудистая система
Установите последовательность структур сердечно-сосудистой системы человека, по которым мигрирует препарат, введенный в большую ягодичную мышцу. Запишите соответствующую последовательность цифр.
1) бедренная вена
2) лёгочная вена
3) правое предсердие
4) нижняя полая вена
5) лёгочная артерия
6) аорта
Тема: Сердечно-сосудистая система
Установите последовательность структур сердечно-сосудистой системы человека, по которым мигрирует лекарственный препарат, введенный в плечевую вену. Запишите соответствующую последовательность цифр.
1) верхняя полая вена
2) легочные вены
3) плечевая вена
4) легочные артерии
5) правое предсердие
6) аорта
Тема: Анализаторы
Установите последовательность соподчинения структур, начиная с наибольшего. Запишите соответствующую последовательность цифр.
1) сетчатка
2) глазное яблоко
3) палочка
4) родопсин
5) оболочка глаза
6) зрительный анализатор
Тема: Анализаторы
Установите последовательность процессов, происходящих в слуховом анализаторе. Запишите соответствующую последовательность цифр.
1) вибрация барабанной перепонки
2) усиление звуковых колебаний слуховыми косточками
3) продвижение нервного импульса по слуховому нерву
4) анализ звуковой информации в головном мозге
5) прохождение звуковой волны по наружному слуховому проходу
6) восприятие звуковых колебаний волосковыми клетками улитки
Тема: Сердечно-сосудистая система
Установите последовательность этапов транспорта кислорода в организме человека. Запишите соответствующую последовательность цифр
1) транспорт воздуха через трахею
2) поступление кислорода в цитоплазму мышечного волокна
3) взаимодействие кислорода с гемоглобином
4) поступление воздуха в гортань
5) участие кислорода в окислительном фосфорилировании
6) транспорт кислорода из альвеол в крови